Bildegalleri
Forskjellige størrelser kan leveres patent nr 20220213
(1/30)
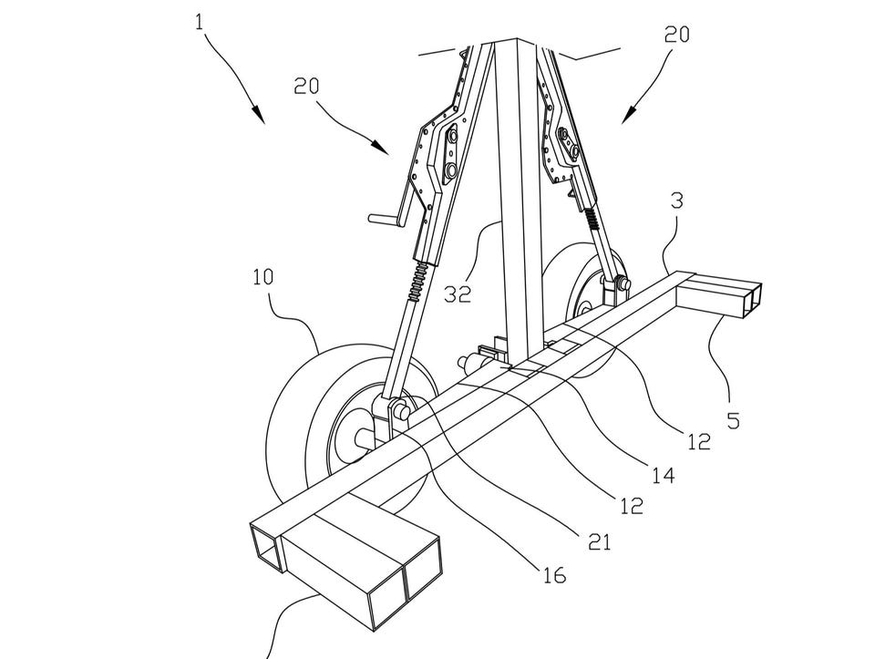
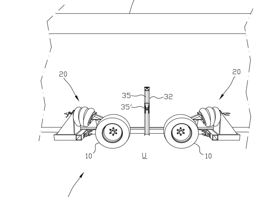
CONTAINER LØFT OG TRANSPORT
Til salgs
Beskrivelse
Containerhjul Transport og Løft 2i1
Artikkel nr: 25768
Forhåndsbestill . Betaling og utsendelse så snart produktet er på lager hos oss. Huk av for "send forespørsel" ved betalingsalternativene.
Container løft - transporter. Patent pending NO 20220213 produksjon starter høsten 2024
Det vil kommer flere moddeller til 6-7-8-9-10 og 20 fot
Artikkel nr: 25768
Forhåndsbestill . Betaling og utsendelse så snart produktet er på lager hos oss. Huk av for "send forespørsel" ved betalingsalternativene.
Container løft - transporter. Patent pending NO 20220213 produksjon starter høsten 2024
Det vil kommer flere moddeller til 6-7-8-9-10 og 20 fot
NB: Knappen for å vise hele beskrivelsen har kun en visuell effekt.
Nøkkelinfo
- Tilstand
- Ny
Beliggenhet
| FINN-kode | 351887684 |
|---|---|
| Sist endret | 6.5.2024 kl. 15:35 |






































